管家婆软件丨全客云

快马数字 SFA:解放业务员专注拓客,做增长

发表时间:2025-06-24 16:29

IMG_6134 拷贝.jpg在 B2B 买卖里,外勤团队就像企业和客户之间的中间人,他们每天跑客户的效率、处理订单的速度以及服务客户的质量,直接影响公司能不能多赚钱。但老一套的外勤管理有不少麻烦事儿:

拜访路线安排乱:业务员每天该先去哪见哪个客户没章法,绕路浪费时间,精力都花在瞎跑路上了;

领导不清楚业务员在干嘛:管理层压根不知道业务员每天具体干了啥,拜访过程全靠事后补记录,出了问题根本没法及时发现;

开单像打仗:拜访归拜访,开单还得回公司录系统,客户问库存、问价格、问优惠,全得现打电话问后台,客户等得不耐烦,一单能拖三天。

快马数字的 SFA(销售能力自动化)工具,核心就是 “用手机就能搞定工作、数据实时更新、系统自动处理很多事情”,把外勤管理整个流程都优化了:让业务员不用再浪费时间做杂活,专心开发新客户、搞定老客户;管理层也能随时知道团队动态,心里有底。

图片

快马数字SFA移动端应用功能一览

简单来讲,快马数字SFA,就干四件事:让拜访更高效、开单更顺溜、管理更明白、协作更便捷。

01

拜访规划:少跑腿,多办事

图片

快马数字SFA-拜访路线自动规划及导航

路线自动算:业务员可指定客户名单,系统自动按位置生成最优路线,据说能省 20% 的通勤时间。举个例子,跑汽配的兄弟,以前一天跑 5 个客户,现在能多跑 1 - 2 家,还不绕路。

图片
图片

快马数字客户情况细节展示局部截图

客户情况全透明:业务员打开 APP,每个客户的历史订单、欠款、上次聊的啥都清清楚楚。比如见老客户时,系统会提醒 “这客户一个月没下单了”,直接聊补货或者推新品,不瞎扯没用的。

图片
图片

快马数字到店&离店打卡应用截图

打卡留痕不掺假:到地儿通过 定位 + 拍照签到,工作留痕轻松搞定!走的时候记清楚客户说了啥需求、下一步干啥,这些数据直接同步到客户档案里,下次跟进心里有数。

02

现场开单:手机上搞定一切

图片
图片

快马数字代客下单及订单自动结算统计优惠局部截图

30 秒开单不是吹的:扫码就能加购商品,老客户直接调历史订单复购,选套餐也方便。下单时系统自动算优惠(比如满 100 减 5),不用人工算,避免算错闹尴尬。

图片
图片

快马数字业务员查库及物流信息查看局部界面截图

库存、物流实时看:开单前先查库存,没货的话直接登记缺货,省得客户下单了没货发,闹纠纷。订单状态同步到 ERP,客户问物流,业务员手机上就能查单号,直接回电话,不用再转客服,甚至客户自己手机端都能查。

图片
图片

快马数字业务员收款及电子订单分享局部界面截图

付款方式灵活选:微信、支付宝、现金、预存款啥都行,电子单据自动生成,发客户微信就行,再也不用寄纸质单,不怕丢也不用翻箱倒柜找记录。

03

管理透明:数据说话,心里有底

业务员:自己干得咋样一目了然

图片
图片

业务员业绩实况局部界面截图

手机上随时看今天开了几单、这个月业绩完成多少、新客户拉了几个,提成自动算好,不用月底跟财务掰扯。

领导:团队情况全在一张地图上

图片
图片

快马数字业务员分布地图及业绩排行榜局部界面截图

打开后台能看到每个业务员在哪跑客户,哪块区域没人去(空白区域),赶紧调整。业绩排行榜一看,谁干得好、谁拖后腿清清楚楚,落后的直接拉来培训。客情还能预警,比如客户好久没下单了,系统自动提醒去跟进,别等客户跑了才知道。

04

团队协作:不扯皮,效率高

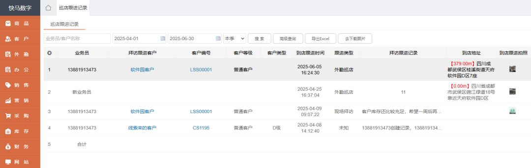
图片

快马数字业务员外勤巡店记录汇总局部界面截图

客户信息全打通:拜访记录自动同步到客户管理系统(SCRM),比如客户说 “竞品在搞促销”,记录下来,领导就能及时调整策略。反过来,客户管理系统里该拜访的客户,自动推给业务员,不会漏。

图片

快马数字订单审批功能局部界面截图

跨部门沟通不费劲:要是客户要加急订单或者特殊报价,直接在 APP 里打审批,记录得明明白白,谁负责啥一目了然,不用来回打电话扯皮。


新人快速上手:公司把拜访流程(比如见新客户该问啥、老客户该咋维护)做成模板,新人跟着 APP 一步步来,领导看记录就能指点哪里做得不对,不像以前全靠自己瞎琢磨,三个月都入不了门。老销售的经验还能发在同事圈里,大家互相学,整个团队成长更快。

总之,传统经销商使用快马数字SFA,可以帮您实现三大好处:

业务员:少干杂活,多挣钱
不用花时间规划路线、登记核对数据、算提成,80% 的精力都能用来搞客户、谈生意,开单快了,提成自然多。


领导:不操心,决策准
实时知道团队在哪、干得咋样,数据都是现成的,调策略、分资源心里有底,不用靠猜。


客户:响应快,体验好
有需求当场解决,下单到发货全程透明,不用催单,自然愿意长期合作。

说白了,快马SFA不是啥花里胡哨的东西,就是帮你把外勤管理从 “拍脑袋” 变成 “看数据”,从 “乱糟糟” 变成 “有条理”。尤其是做经销商的,现在市场竞争这么激烈,外勤效率提不上来,客户都被对手抢走了。快马 SFA 就像个智能小助手,帮你把该管的事儿管好,该赚的钱赚到,实实在在解决问题,比天天开会喊口号有用多了。

点击了解/免费试用

分享到:
Internet Design
提供各行各业网站解决方案
Tel/联系电话:020-000000 000-000000            Address/地址:XXX省XXX市XXX县XXX路XXX号            Mail/邮箱:XXX@COM
电话咨询客服:周一至周日9:00-17:30
151-0281-2570
联系邮箱:cl@cdqky.com
联系我们